Типы
Технологические схемы производства разделяют на такие типы:
- с открытой цепью;
- циклические (циркуляционные, круговые, замкнутые).
Схема с открытой цепью состоит из аппаратов, через которые все компоненты проходят лишь один раз. Циклическая схема предусматривает многоразовое возвращение к одному аппарату всех реагирующих масс или одной из фаз в гетерогенном процессе к достижению заданной степени превращения начальных веществ.
Технологическая схема имеет вид последовательных схематических изображений связанных между собой машин и аппаратов или же последовательных условных обозначений соединенных между собой операций.
Технологические аппараты на схеме изображают в виде упрощенных внешних очертаний элемента, стандартного условного обозначения, прямоугольников и других геометрических фигур.
Принцип расчленения операций
Операция разбивается на ряд простейших переходов, наладка режимов работы обрабатывающего оборудования выполняется единожды, для первой детали серии, далее оставшиеся детали проходят обработку на тех же режимах.
Такой подход эффективен при больших размерах серий и относительно несложной пространственной конфигурации изделий.
Принцип дает существенный эффект снижения относительной трудоемкости за счет улучшенной организации рабочих мест, совершенствования у рабочих навыка однообразных движений по постановке-снятию заготовок, манипуляций с инструментом и оборудованием.
Абсолютное число установок при этом растет, но сокращается время на настройку режимов оборудования, за счет чего и достигается положительный результат.
https://youtube.com/watch?v=BT7ULCo6ACo
Чтобы получить этот положительный эффект, технологу придется позаботиться о применении специализированной оснастки и приспособлений, позволяющих быстро и, главное, точно устанавливать и снимать заготовку. Размер серии также должен быть значительным.
Фильтрация водно-спиртовой смеси
Для освобождения от взвешенных частиц водно-спиртовую смесь фильтруют два раза: до обработки и после обработки активным углем.
В качестве фильтрующего материала используют кварцевый песок. Фильтрацию производят под давлением столба жидкости с помощью песочных фильтров, в которых на сетчатой перегородке, покрытой фильтрующей тканью из фланели или сукна, помещают кварцевый песок.
Фильтрация водно-спиртовой смеси происходит под давлением столба жидкости, сортировка поступает на фильтр самотеком из напорного бака, распложенного выше фильтров. По мере увеличения количества профильтрованной жидкости высота слоя осадка на фильтрующем материале увеличивается. Увеличивается сопротивление потоку и снижается скорость фильтрации. Для устранения этого фильтр периодически очищают. Фильтрацию водно-спиртовой смеси через кварцевый песок производят на песочных фильтрах (рисунок 5).
1 – корпус; 2 – днище; 3 – крышка; 4 – штуцер подачи; 5 – патрубок выхода; 6 – фонарь; 7 – кран – воздушник; 8 – штуцер спускаРисунок 5 – Песочный фильтр с контрольным фонарем
Песочный фильтр изготавливают из листовой меди в виде цилиндрического корпуса 1, луженного внутри, со сферическими днищем 2 и съемной крышкой 3, прикрепленной к фланцу корпуса болтами. Высота фильтра 1100 мм, диаметр 700 мм. С помощью двух съемных луженых перфорированных дисков, покоящихся на прикрепленных к корпусу кольцах, фильтр разделен на три камеры: верхняя и нижняя камеры свободные, средняя заполнена кварцевым песком в два слоя общей высотой 700 мм. В нижнем слое зерна имеют размер от 1 до 3,5 мм, в верхнем – 3,5-5 мм. Перед заполнением песком на нижний диск кладут медный луженый или деревянный обруч, обтянутый фланелью или шинельным сукном. Такие же обручи размещают между слоями песка и над верхним диском. Зазоры между обручами и корпусом фильтра забивают ватным жгутом.
Подлежащая фильтрации сортировка поступает по штуцеру 4 с краном, проходит фильтрующую камеру и по патрубку 5 отводится на обработку активным углем.
Песочные фильтры для фильтрации водки отличаются тем, чтизготавливаются из нержавеющей стали, снабжены ротаметром и стеклянным фонарем 6 на выходной трубе. Ротаметром контролируют скорость фильтрации, посредством фонаря – прозрачность водки.
Первые, мутные порции фильтрата возвращают в чан-смеситель. После получения чистого фильтрата фильтрацию ведут со скоростью 0,77 м/ч (30 дал/ч), регулируя ее плавным поворотом наполнительного крана.
После работы фильтра 20-30 сут (скорость при открытом кране становится малой) его выключают для перезарядки.
Известно несколько типов песочных фильтров, которые широко применяются для фильтрации сортировок в ликеро-водочной промышленности. Они разделяются по конструкции на однопоточные и двухпоточные.
В однопоточных песочных фильтрах сортировка подается сверху, а отводится снизу (рисунок 6). Двухпоточный песочный фильтр (рисунок 7) дополнительно снабжен трубчатым дренажным устройством, трубы которого обвернуты мелкой сеткой с отверстием 0,2-,03 мм. Нижний слой песка с зернами 2-3 мм имеет высоту 50 мм, средний с размером зерен 1,5-2 мм – ту же высоту и верхний с зернами размером 0,5-1 мм -высоту 400-600 мм. Дренажное устройство находится посредине этого слоя песка. Сортировка поступает в фильтр снизу и сверху и выводится через дренажную систему. Поток сортировки, идущий снизу, фильтруется сначала через крупные, затем через средние и, наконец через мелкие зерна песка. Верхний поток сортировки фильтруется только через мелкие зерна.
1 – корпус; 2 – штуцер подачи с распределительным устройством; 3 – штуцер отвода; 4 – дренажное устройство; 5 – распределительное устройство; 6 – перегородка; 7 – верхний слой песка; 8 – средний слой; 9 – нижний слойРисунок 6 – Однопоточный песочный фильтр1 – корпус; 2 – распределительные устройства; 3 – перегородка; 4 – выводной патрубок; 5 – окно; 6 – дренажное устройство; 7 – верхний слой; 8 – средний слой; 9 – нижний слойРисунок 7 – Двухпоточный песочный фильтр
Регенерация песка в однопоточных и двухпоточных фильтрах ведется обратным током воды: сортировки при предварительной фильтрации, водки – при окончательной фильтрации в течение 10-12 мин.
Применяются также керамические фильтры, фильтрующим органом в которых является керамические плитки. Регенерацию керамических плиток производят обработкой соляной кислотой и прокаливанием в муфельной печи при 500-600°С.
Определение и характеристика
ГОСТ дает научно строгое, но сформулированное слишком сухим и наукообразным языком определение технологического процесса. Если же говорить о понятии технологического процесса более понятным языком, то технологический процесс — это совокупность выстроенных в определенном порядке операций. Он направлен на превращение сырья и заготовок в конечные изделия. Для этого с ними совершают определенные действия, обычно выполняемые механизмами. Технологический процесс не существует сам по себе, а является важнейшей частью более общего производственного процесса, включающего в себя в общем случае также процессы контрактации, закупки и логистики, продажи, управления финансами, административного управления и контроля качества.
Схема технологического процесса
Технологи на предприятии занимают весьма важное положение. Они являются своего рода посредниками между конструкторами, создающими идею изделия и выпускающими его чертежи, и производством, которому предстоит воплощать эти идеи и чертежи в металл, дерево, пластмассу и другие материалы
При разработке техпроцесса технологи работают в тесном контакте не только с конструкторами и производством, но и с логистикой, закупками, финансами и службой контроля качества. Именно техпроцесс и является той точкой, в которой сходятся требования всех этих подразделений и находится баланс между ними.
Описание технологического процесса должно содержаться в таких документах, как:
- Маршрутная карта — описание высокого уровня, в нем перечислены маршруты перемещения детали или заготовки от одного рабочего места к другому или между цехами.
- Операционная карта – описание среднего уровня, более подробное, в нем перечислены все операционные переходы, операции установки-съемки, используемые инструменты.
- Технологическая карта — документ самого низкого уровня, содержит самое подробное описание процессов обработки материалов, заготовок, узлов и сборок, параметры этих процессов, рабочие чертежи и используемая оснастка .
Технологическая карта даже для простого на первый взгляд изделия может представлять собой довольно толстый том.
Технологическая карта
Для сравнения и измерения технологических процессов серийного производства применяются следующие характеристики:
- Цикл технологической операции — длительность (измеряется в секундах, часах, днях, месяцах) операции, повторяющейся с определенной периодичностью. Отсчитывается от момента начала операции до момента ее окончания. Длительность цикла не зависит от числа заготовок или деталей, обрабатываемых одномоментно.
- Такт выпуска изделия – промежуток времени, через который выпускается это изделие. Рассчитывается как отношение времени, за которое выпускается определенное количество изделий, к этому количеству. Так, если за 20 минут было выпущено 4 изделия, то такт выпуска будет равен 20/4=5 минут/штуку .
- Ритм выпуска – величина, обратная такту, определяется как число изделий, выпускаемых в единицу времени (секунду, час, месяц и т.п.).
В дискретном производстве такие характеристики технологических процессов не находят применения ввиду малой повторяемости изделий и больших сроков их выпуска.
Производственная программа — представляет собой список названий и учетных номеров выпускаемых изделий, причем для каждой позиции приводится объемы и сроки выпуска.
Производственная программа
Производственная программа предприятия складывается из производственных программ его цехов и участков. Она содержит:
- Перечень выпускаемых изделий с детализацией типов, размеров, количества.
- Календарные планы выпуска с привязкой к каждой контрольной дате определенного объема выпускаемых изделий.
- Количество запасных частей к каждой позиции в рамках процесса поддержки жизненного цикла изделий.
- Подробную конструкторско-технологическую документацию, трехмерные модели, чертежи, деталировки и спецификации.
- Техусловия на производство и методики управления качеством, включая программы и методики испытаний и измерений.
Производственная программа является разделом общего бизнес-плана предприятия на каждый период планирования.
Схема производства пива
Производство пива из сухого солода состоит из следующих операций:
- очистка и дробление солода,
- приготовление сусла,
- брожение сусла,
- дображивание пива,
- фильтрование и розлив пива.
Ячменный сухой солод после хранения содержит некоторое количество пыли, остатков ростков, случайно попавших металлических предметов и других примесей. Поэтому отлежавшийся солод очищают.
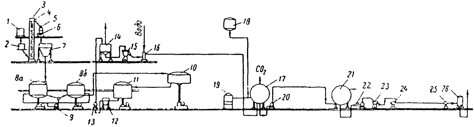
Солод со склада транспортируют (рисунок 6) в бункер 1, а из него для отделения пыли и другйх примесей подают на полировочную машину 2. После очистки солод поднимают норией, пропускают через магнитный аппарат 4 для отделения ферромагнитных примесей, взвешивают на автоматических весах 5 и направляют в дробилку 6. Из бункера 7 дробленный солод поступает на приготовление сусла, которое производят в варочных агрегатах. Наиболее часто устанавливают четырехаппаратные варочные агрегаты: два заторных котла, фильтрационный чан (или фильтр-пресс), сусловарочный котел. В одном из заторных котлов 8а дробленный солод смешивают с водой; полученная смесь называется затором. Часть затора, так называемую отварку, перекачивают насосом 9 в другой, рядом стоящий заторный котел 86. В котле 8б отварку нагревают для осахаривания, кипятят и после этого перекачивают в котел 8а. Затем часть затора (вторая отварка) снова перекачивают в котел 8б, нагревают, кипятят и возвращают в котел 8а. В процессе затирания примерно 75% крахмала превращается в мальтозу и 25% -в декстрины. Полученный затор фильтруют в фильтрационном чане 10.
При фильтрации затор разделяется на две части: жидкую – сусло и нерастворимую-солодовую дробину. Последнюю используют для корма скота. Сусло поступает в сусловарочный котел 11, где его кипятят с хмелем и выпаривают до определенного содержания сухих веществ.
Затем сусло направляют для отделения хмелевой дробины в хмелеотделитель 12, перекачивают насосом 13 в сборник 14, из которого сусло поступает для отделения мути в сепаратор 15 и для охлаждения – в теплообменник 16.
Охлажденное сусло поступает на брожение, которое в пивоваренном производстве проводят в две стадии: главное брожение и дображивание. Главное брожение происходит в бродильных чанах 17.
В качестве возбудителей брожения добавляют дрожжи чистой культуры из аппарата для размножения дрожжей 18 или повторно используют дрожжи из сборника 19.
При главном брожении мальтоза, содержащаяся в сусле, под действием ферментов дрожжей превращается в этиловый спирт и углекислый газ. По окончанию главного брожения получают молодое (зеленое) пиво. Его перекачивают насосом 20 для дображивания в лагерные танки 21. Во время дображивания происходит медленное сбраживание оставшихся сахаров, насыщение углекислотой, осветление и созревание пива. Готовое пиво из лагерных танков насосом 22 перекачивают для осветления в сепаратор 23, фильтруют в фильтр-прессе 24, охлаждают в охладителе 25, направляют в сборник фильтрованного пива 26 и затем разливают в бочки и бутылки.
1 – бункер солода; 2 – полировочная машина; 3 – нория; 4 – магнитный аппарат; 5 – весы автоматические; 6 – дробилка; 7 – бункер дробленного солода; 8а и 8б – заторные котлы; 9 – насос отварки; 10 – фильтрационный чан; 11 – сусловарочный котел; 12 – хмелеотделитель; 1 3 -насос; 1 4 -сборник; 15 – сепаратор сусла; 16 – теплообменник; 17 – бродильные чаны; 18 – аппарат чистой культуры дрожжей; 19 – сборник дрожжей; 20 – насос зеленого пива; 21 – лагерные танки; 22 – насос готового пива; 23 – сепаратор; 24 – фильтр-пресс; 25 — охладитель; 26 – сборник фильтрованного пива.Рисунок 6 – Аппаратурно-технологическая схема производства пива
Монтаж стропильной фермы. План

1 – колонна;
2 – штабель плит покрытия;
3 – лестница приставная секционная;
4 – площадка навесная;
5 – стропильная ферма;
6 – траверса;
7 – смонтированное покрытие;
8 – смонтированный торцевой фонарь;
9 – инвентарная распорка;
10 – кран гусеничный КС-8161 БС;
11 – место складирования стропильных ферм;
12 – кассета;
13 – ось движения трактора с блоком.
Разрез А-А см. стр. 41
Монтаж стропильной фермы. Разрез А-А

1 – колонна;
2 – лестница приставная секционная;
3 – площадка навесная;
4 – стропильная ферма;
5 – траверса;
6 – инвентарная распорка;
7 – оттяжной канат;
8 – кран гусеничный КС-8161 БС;
9 – штабель плит покрытия;
10 – место складирования стропильных ферм;
11 – кассета;
12 – ось движения трактора.
Популярное
В зависимости от назначения схемы на чертеже изображают: а только цепи питающей сети источники питания и отходящие от них линии; б только цепи распределительной сети электроприемники, линии, их питающие ; в для небольших объектов на принципиальной схеме совмещают изображения цепей питающей и распределительной сетей. В кольцевых схемах ревизия любого выключателя производится без перерыва работы какого-либо элемента.
Эти два примера иллюстрируют изложенные ниже требования к выполнению перечней элементов принципиальных электрических схем.
Линии кВ имеют пропускную способность около МВт, поэтому три линии вполне обеспечат выдачу всей мощности присоединенных энергоблоков с учетом возможного расширения. Они служат основанием для разработки других конструкторских документов, например, схем соединений монтажных и чертежей.
Линии связи выполняют толщиной от 0,2 до 1,0 мм в зависимости от форматов схемы и размеров графических обозначений.
Если при повороте или зеркальном изображении условных графических обозначений может нарушиться смысл или ухудшиться читаемость обозначений, то такие обозначения изображаются только в положении, в котором они приведены в соответствующих стандартах.
Так, в частности, выполнены схемы на рис. Единственным отличием между схемами может являться расположение и соединение деталей, которые при сборке реального устройства из-за соображений упрощения монтажа или уменьшения влияния одного элемента на другой могут быть разнесены в разные стороны.
На чертеже главные схемы изображаются в однолинейном исполнении при отключенном положении всех элементов установки. Распределительное устройство — кВ АЭС выполняется с одной или двумя рабочими и обходной системами шин.
КАК ТЕЧЁТ ТОК В СХЕМЕ — Читаем Электрические Схемы 1 часть

КАК ТЕЧЁТ ТОК В СХЕМЕ | Читаем Электрические Схемы 1 часть
Статья по теме: Нормы испытания электрооборудования
Приемка спирта
Спирт-ректификат принимают по объему, который измеряют коническими ( от 250 до 1000 дал) и цилиндрическими (75 дал) мерниками. Одновременно с измерением объема измеряют и крепость спирта, как и в спиртовом производстве. Для приемки спирта на заводах оборудуют спиртоприемные отделения (цехи). Спирт из автоцистерн сливают через нижний штуцер по резиновому шлангу Из железнодорожных цистерн спирт сливают с помощью насоса или самотеком. Первым способом пользуются только в случае расположения приемных мерников выше уровня железнодорожных цистерн. При расположении приемных мерников ниже уровня железнодорожных цистерн спирт сливают с помощью сифонной установки (рисунок 2), состоящей из резинового гофрированного шланга, ручного насоса и воронки. Один конец трубы 1, снабженной трубчатым наконечником, погружают в в цистерну 2 до дна, а другой соединяют со сливной коммуникацией 3. Открывают краны 4 и 5 и при закрытых кранах 6 и 7 и всех кранах, соединяющих эту коммуникацию с коническим 8 и цилиндрическим 9 мерниками, при помощи насоса 10 или вакуума засасывают спирт из цистерны. Как только в сливной воронке 11 появится спирт, насос останавливают, открывают кран 7 и кран перед коническим мерником, в который должен поступать спирт.
Использование установки из трех мерников дает возможность оперативно производить приемку спирта с необходимыми замерами и расчетами. Во время заполнения одного из мерников, со второго спирт скачивают через приемную емкость 12 с помощью спиртового насоса 13 в цистерны спиртохранилища.
Рисунок 2 – Схема спиртоприемного отделения с сифонной установкой для слива спирта
Обработка дерева и металла
На практике одну и ту же деталь, одного и того же размера и веса, из одного и того же материала можно изготовить разными, иногда сильно отличающимися друг от друга методами.
На этапе конструкторско-технологической подготовки производства конструкторы и технологи совместно прорабатывают несколько вариантов описания технологического процесса, изготовления и последовательности обработки изделия. Эти варианты сравниваются по ключевым показателям, насколько полно они удовлетворяют:
- техническим условиям на конечный продукт ;
- требованиям производственного плана, срокам и объемам отгрузки;
- финансово-экономическим показателям, заложенным в бизнес-план предприятия.
На следующем этапе проводится сравнение этих вариантов, из них выбирается оптимальный. Большое влияние на выбор варианта оказывает тип производства.
https://youtube.com/watch?v=q73DFW4JGac
В случае единичного, или дискретного производства вероятность повторения выпуска одной и той же детали невелика. В этом случае выбирается вариант с минимальными издержками на разработку и создание специальной оснастки, инструмента и приспособлений, с максимальным задействованием универсальных станков и настраиваемой оснастки. Однако исключительные требования к точности соблюдения размеров или к условиям эксплуатации, таким, как радиация ил высоко агрессивные среды, могут вынудить применять и специально изготовленную оснастку, и уникальные инструменты.
При серийном же выпуске процесс производства разбивается на выпуск повторяющихся партий изделий. Технологический процесс оптимизируют с учетом существующего на предприятии оборудования, станком и обрабатывающих центров. Оборудование при этом снабжают специально разработанной оснасткой и приспособлениями, позволяющими сократить непроизводительные потери времени хотя бы на несколько секунд. В масштабе всей партии эти секунды сложатся вместе и дадут достаточный экономический эффект. Станки и обрабатывающие центры подвергают специализации, за станком закрепляют определенные группы операций.
При массовом производстве размеры серий весьма высоки, а выпускаемые детали достаточно долгий срок не подвергаются конструктивным изменениям. Специализация оборудования заходит еще дальше. В этом случае технологически и экономически оправдано закрепление за каждым станком одной и той же операции на все время выпуска серии, а также изготовление спецоснастки и применение отдельного режущего инструмента и средств измерений и контроля.
Оборудование в этом случае физически перемещают в цеху, располагая его в порядке следования операций в технологическом процессе
Виды техпроцессов
Классификация техпроцессов проводится по нескольким параметрам.
По критерию частоты повторения при производстве изделий технологические процессы подразделяют на:
- единичный технологический процесс, создается для производства уникальной по конструктивным и технологическим параметрам детали или изделия;
- типовой техпроцесс, создается для некоторого количества однотипных изделий, схожих по своим конструктивным и технологическим характеристикам. Единичный техпроцесс, в свою очередь, может состоять из набора типовых техпроцессов. Чем больше типовых техпроцессов применяется на предприятии, тем меньше затраты на подготовку производства и тем выше экономическая эффективность предприятия;
- групповой техпроцесс подготавливается для деталей, различных конструктивно, но сходных технологически.
Пример типового технологического процесса
По критерию новизны и инновационности различают такие виды технологических процессов, как:
- Типичные. Основные технологические процессы используют традиционные, проверенные конструкции, технологии и операции обработки материалов, инструмента и оснастки.
- Перспективные. Такие процессы используют самые передовые технологии, материалы, инструменты, характерные для предприятий — лидеров отрасли.
По критерию степени детализации различают следующие виды технологических процессов:
- Маршрутный техпроцесс исполняется в виде маршрутной карты, содержащей информацию верхнего уровня: перечень операций, их последовательность, класс или группа используемого оборудования, технологическая оснастка и общая норма времени.
- Пооперационный техпроцесс содержит детализированную последовательность обработки вплоть до уровня переходов, режимов и их параметров. Исполняется в виде операционной карты.
Пример маршрутной карты
Пооперационный техпроцесс был разработан во время Второй Мировой войны в США в условиях нехватки квалифицированной рабочей силы. Детальные и подробные описания каждой стадии технологического процесса позволили привлечь к работе людей, не имевших производственного опыта и в срок выполнить большие военные заказы. В условиях мирного времени и наличия, хорошо обученного и достаточно опытного производственного персонала использование такого вида технологического процесса ведет к непроизводительным расходам. Иногда возникает ситуация, в которой технологи старательно издают толстые тома операционных карт, служба технической документации тиражирует их в положенном числе экземпляров, а производство не открывает эти талмуды. В цеху рабочие и мастера за многие годы работы накопили достаточный опыт и приобрели достаточно высокую квалификацию для того, чтобы самостоятельно выполнить последовательность операций и выбрать режимы работы оборудования. Таким предприятиям имеет смысл подумать об отказе от операционных карт и замене их маршрутными.
Существуют и другие классификации видов технологических процессов.
Средства выполнения технологических процессов
Технологический процесс существует сначала в головах технологов, далее он фиксируется на бумаге, а на современных предприятиях — в базе данных программ, обеспечивающих процесс управления жизненным циклом изделия (PLM). Переход на автоматизированные средства хранения, написания, тиражирования и проверки актуальности технологических процессов- это не вопрос времени, в вопрос выживания предприятия в конкурентной борьбе. При этом предприятиям приходится преодолевать сильное сопротивление высококвалифицированных технологов строй школы, привыкших за долгие годы писать техпроцессы от руки, а потом отдавать их на перепечатку.
Программа управления технологическим процессом
Современные программные средства позволяют автоматически проверять упомянутые в техпроцессе инструмент, материалы и оснастку на применимость и актуальность, повторно использовать ранее написанные техпроцессы целиком или частично. Они повышают производительность труда технолога и существенно снижают риск человеческой ошибки при написании техпроцесса.
Технологическое оборудование предназначено для установки, закрепления, ориентации в пространстве и подачи в зону обработки сырья, заготовок, деталей, узлов и сборок.
В зависимости от отрасли производства сюда входят станки, обрабатывающие центры, реакторы, плавильные печи, кузнечные прессы, установки и целые комплексы.
Оборудование обладает длительным сроком использования и может изменять свои функции в зависимости от использования той или иной технологической оснастки.
Технологическая оснастка включает в себя инструмент, литейные формы, штампы, приспособления для установки и снятия детали, для облегчения доступа рабочих к зоне выполнения операций. Оснастка дополняет основное оборудование, расширяя его функциональность. Она имеет более короткий срок использования и иногда специально изготавливается для конкретной партии изделий или даже для одного уникального изделия. При разработке технологии следует шире применять универсальную оснастку, применимую для нескольких типоразмеров изделия
Особенно это важно на дискретных производствах, где стоимость оснастки не распределяется на всю серию, а целиком ложится на себестоимость одного изделия
Инструмент предназначен для оказания непосредственного физического воздействия на материал заготовки с целью доведения ее формы размеров, физических, химических и других параметров до заданных в технических условиях.
Технолог при выборе инструмента должен принимать во внимание не только цену его покупки, но и ресурс и универсальность. Часто бывает, что более дорогой инструмент позволяет без его замены выпустить в несколько раз больше продукции, чем дешевый аналог
Кроме того, современный универсальный и высокоскоростной инструмент позволит также сократить время машинной обработки, что также прямо ведет к снижению себестоимости. С каждым годом технологи приобретают все больше экономических знаний и навыков, и написание техпроцесса из дела чисто технологического превращается в серьезный инструмент повышения конкурентоспособности предприятия.
Основные технологические операции
В целом, при производстве комбикормов придерживаются следующей последовательности операций (схема 1).
Схема 1. Порядок операций при производстве комбикормов
Комбикормовому производству присуща высокая гибкость процесса. При необходимости некоторые операции могут быть исключены.
В отдельных случаях некоторые операции осуществляются повторно. Обычно, на комбикормовых предприятиях присутствует большое количество маршрутов. Маршруты, которые обходят отдельные машины, называют байпасными.
Большое количество технологических операций обуславливает расположение их в высоту, когда транспортировка продукта по маршрутам осуществляется гравитационно. Большинство (фото 3) комбикормовых заводов расположены в многоэтажных зданиях.
Фото 3. Вертикальный комбикормовый завод
Сердце производства комбикормовых смесей – это три фундаментальные операции: измельчение ингредиентов, их дозировка и смешивание. Интересно, что и здесь возможны вариации. Условно я эти схемы называю Американской, Европейской и Советской. Попробуем их проанализировать.




































